开发超越血糖监测的生物可穿戴创新平台,Adaptyx完成1400万美元种子轮融资
2025-10-22 11:30:59 来源:麦姆斯咨询 评论:0 点击:
据麦姆斯咨询报道,Adaptyx Biosciences是一家致力于开发全球首款持续多分析物分子监测平台的生物可穿戴创新厂商,该公司近日宣布已完成1400万美元种子轮融资。该轮融资由Interlagos领投,Overwater Ventures参投,Starbloom Capital、斯坦福大学、Chan Zuckerberg Biohub、Hyperlink Ventures、Cantos Ventures、Humba Ventures和Seaside Ventures联合参投。Adaptyx自成立以来总融资额已达到2300万美元。

Adaptyx的生物可穿戴平台超越了血糖监测,重新定义了持续健康监测,能够捕捉更广泛的人体生化分子,包括小分子、电解质、激素、药物和蛋白质等,使用户在实验室检测间隔期的长期健康信息变得唾手可得。通过将持续分子传感与人工智能(AI)分析相结合,该平台能够将数据流转化为可操作的洞察,实现健康趋势的早期检测,并在问题升级前及时进行干预。

Adaptyx持续多分析物分子监测可穿戴传感器及其应用
“医疗保健领域一直存在数据匮乏的问题。”Adaptyx首席执行官(CEO)、联合创始人Vijit Sabnis博士表示,“实验室检测只是健康状况的快照,无法捕捉身体机能的持续变化,这留下了信息盲区,导致许多健康问题无法得到解决。Adaptyx为患者和临床医生提供了对身体内部持续变化的全面洞察,有效监测此前未被利用的分子信号。我们的使命是将持续监测从血糖扩展到驱动人类健康的多种分子,构建丰富的数据管道,引导患者和临床医生在恰当的时机做出最佳决策。我们将从挽救生命的临床应用开始,最终将这种能力带给所有人。”

Adaptyx持续多分析物分子监测可穿戴传感器及分子开关示意图
Adaptyx的核心专有技术是基于微针的可编程分子开关。其分子开关是实验室制造的DNA生物受体,旨在以高灵敏度和特异性的结合目标分子。在识别分析物时,它们会经历可预测且可逆的结构变化,从而实现对多种生物标志物的持续、精确追踪,由此构建一种全新的模块化生物传感器,其功能远超当今的持续血糖监测传感器。

Adaptyx持续多分析物分子监测可穿戴传感器专利图

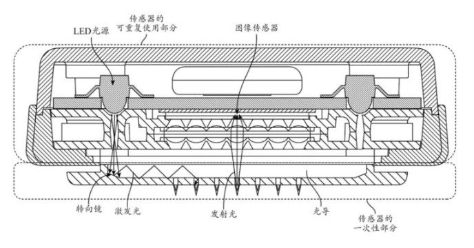
Adaptyx持续多分析物分子监测可穿戴传感器的内部组件分解图,其传感器分为可重复使用模块和一次性使用模块

Adaptyx持续多分析物分子监测可穿戴传感器的内部组件剖面示意图
Adaptyx申请的专利公开了一种可穿戴生物传感器,用于通过用户生物样品(组织间液)对一种或多种目标分析物进行微创、持续、实时测量。其可穿戴生物传感器包含微针,以与组织间液接触。微针上或内部的探针,与组织间液中目标分析物接触后提供光信号的变化。然后通过光电检测器对光信号进行持续检测以及后续的数据处理和分析。
Adaptyx的分子开关制造设施,通过整合自动化分子设计、并行化筛选和AI驱动的优化,将生物传感器开发周期从数年压缩至数周。Adaptyx首席科学官、联合创始人Alex Yoshikawa博士表示:“每个新的开关都会生成结构化数据集,使系统更智能、更快速,迅速扩展分析物库并赋能新应用。”该公司计划将其持续监测能力扩展至数百种生物分子,并建立个性化医疗所需的基础分子数据平台。
Adaptyx正在开发的应用包括:
- 心力衰竭管理:持续监测电解质、肾脏功能指标和心脏生物标志物,可实现药物安全剂量调整、早期异常检测,并在代偿失调发生前及时干预。
- 激素优化:持续激素和代谢物分析,揭示节律和失衡,支持从代谢性疾病到生育护理的内分泌健康精确管理。
- 医疗服务增强:实时监测药物水平和重症监护生物标志物,确保最佳剂量、快速临床反应,并降低并发症风险。
- 个性化健康:持续追踪分子健康标志物,提供对压力、代谢和恢复的洞察,实现主动生活方式调整和更健康的衰老管理。
“在学术界研发这项技术17年后,我们已准备好将实验室的持续分子监测技术用于真实患者。”Adaptyx联合创始人兼科学顾问H. Tom Soh教授表示,“能够同时持续追踪多种生物标志物是一项突破性进展,它将改变我们对人类健康理解的途径,改善所有人的健康护理。”
此轮融资所得将加速技术研发和产品开发,扩展分子开关管线,并支持公司向首个商业应用推进临床试验。Adaptyx还将扩大其工程、数据科学和临床运营团队。
“Adaptyx在分子传感科学方面的技术专长是公司业务的基础。Adaptyx设计了一种用于感知生物数据集的新型器件,从根本上改变人们检测和提供医疗保健的方式。”Interlagos Capital创始人兼CEO、Adaptyx董事会成员Achal Upadhyaya表示。
“Adaptyx正是医疗领域期待已久的定义新类别的创新。这支团队不是追求渐进式改变,他们正在重新构建我们如何持续、大规模地监测生理指标。”Overwater Ventures创始人兼普通合伙人Kristina Simmons表示,“通过以可穿戴形式提供多分析物分子数据,Adaptyx将监测转变为动态实时护理,而非周期性事件。这一突破为赋能临床医生树立了新标杆。”
Adaptyx成立于2022年,基于斯坦福大学和Chan Zuckerberg Biohub教授H. Tom Soh与Joseph M. DeSimone超过十年的创新成果。该公司拥有这项研究的独家知识产权许可,为其技术和未来增长奠定了坚实基础。
Adaptyx的持续监测技术尚处于研究阶段,尚未上市。
关于Adaptyx
Adaptyx正在开创一种可编程的生物可穿戴平台,通过小型化可穿戴贴片实现持续、多组分的分子监测。Adaptyx技术的核心是基于合成DNA的分子开关,这些开关能够实现持续的实验室级分子传感。这种传感能力赋予了贴片收集并传输持续生化数据的能力,支持更早的干预措施,并在临床和日常健康应用中提供更精确的人工智能辅助护理。该公司成立于2022年,总部位于加利福尼亚州门洛帕克,目前正寻求FDA的临床应用批准,计划随后扩展到更广泛的健康与保健市场。
延伸阅读:
经典文章回顾
- 光电传感器芯片商艾普柯微电子获数千万级融资
- 拓展高端传感器领域布局,高华科技完成数亿元融资
- 研发颠覆性光学MEMS麦克风,sensiBel获1500万欧元A轮投资
- SiTime引入Aura Semiconductor“时钟”产品线
- Knowles消费类MEMS麦克风业务以1.5亿美元出售给Syntiant
- 武汉敏声完成近6亿元B轮融资,加速国产BAW滤波器规模化量产
- 韩泰集团投资光学MEMS领导厂商PMC,加速汽车ADAS和自动驾驶应用
- 增强射频滤波器行业地位,村田宣布收购Resonant
- 视觉传感芯片厂商Newsight将登陆纳斯达克,估值2.15亿美元
- 全球首家超构光学商业化公司Metalenz完成3000万美元B轮融资
